Product Summary
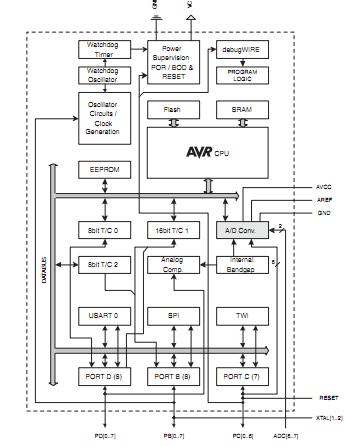
The ATMEGA168PA-AU is a low-power CMOS 8-bit microcontroller. The ATMEGA168PA-AU is based on the AVR enhanced RISC architecture. By executing powerful instructions in a single clock cycle, the ATMEGA168PA-AU achieves throughputs approaching 1 MIPS per MHz allowing the system designer to optimize power consumption versus processing speed.
Features
ATMEGA168PA-AU features: (1)High Performance, Low Power AVR 8-Bit Microcontroller; (2)Advanced RISC Architecture; (3)High Endurance Non-volatile Memory Segments; (4)Peripheral Features, Two 8-bit Timer/Counters with Separate Prescaler and Compare Mode; (5)Special Microcontroller Features, Power-on Reset and Programmable Brown-out Detection; (6)I/O and Packages, 23 Programmable I/O Lines; (7)Operating Voltage: 1.8 - 5.5V; (8)Temperature Range: -40°C to 85℃; (9)Speed Grade: 0 - 4 MHz@1.8 - 5.5V, 0 - 10 MHz@2.7 - 5.5.V, 0 - 20 MHz @ 4.5 - 5.5V; (10)Power Consumption at 1 MHz, 1.8V, 25℃
Diagrams
| Image | Part No | Mfg | Description | ![]() |
Pricing (USD) |
Quantity | ||||||||||||
|---|---|---|---|---|---|---|---|---|---|---|---|---|---|---|---|---|---|---|
![]() |
![]() ATMEGA168PA-AU |
![]() Atmel |
![]() 8-bit Microcontrollers (MCU) 16KB FLASH 512B EE 1KB SRAM - 20 MHz |
![]() Data Sheet |
![]()
|
|
||||||||||||
![]() |
![]() ATMEGA168PA-AUR |
![]() Atmel |
![]() 8-bit Microcontrollers (MCU) 16KB FLASH 512B EE 1KB SRAM - 20 MHz |
![]() Data Sheet |
![]()
|
|
||||||||||||
(Hong Kong)










